Raccordement du cordon d'alimentation CC
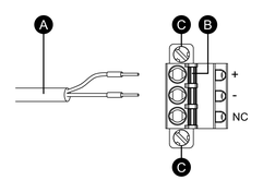
Connecteur d'alimentation CC : Borniers à ressort

|
Connexion |
Fil |
|---|---|
|
+ |
24 Vcc |
|
- |
0 Vcc |
|
NC |
Aucune connexion |
- Retirez la vis de la borne FG à l'arrière du produit, connectez le fil de terre et serrez la vis.
- Assurez-vous que le cordon d'alimentation n'est pas branché sur l'alimentation.
- Sertissez correctement une borne à broches à l'extrémité de chaque cordon d'alimentation.
- Appuyez sur le bouton d'ouverture à l'aide d'un petit tournevis plat pour ouvrir le trou de broche désiré.
- Insérez chaque fil du cordon d'alimentation dans son trou correspondant. Relâchez le bouton d'ouverture afin de pincer le fil en place.
- Après avoir inséré les deux fils du cordon d'alimentation, insérez le connecteur d'alimentation CC dans le connecteur d'alimentation sur le produit.
- Fixez les vis aux deux côtés du connecteur.NOTE: Le couple nécessaire est de 0,3 N•m (2,7 lb-in).

