Come collegare il cavo di alimentazione CC
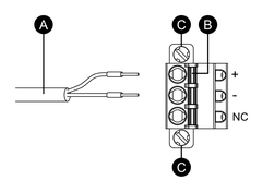
Connettore di alimentazione CC: Connettori a molla della morsettiera

|
Connessione |
Cavo |
|---|---|
|
+ |
24 Vcc |
|
- |
0 Vcc |
|
NC |
Connessione assente |
- Rimuovere la vite sul terminale FG sul retro del prodotto, collegare il cavo di terra, rimettere e serrare la vite.
- Verificare che il cavo di alimentazione non sia collegato all'alimentatore.
- Crimpare adeguatamente un terminale pin all'estremità di ciascun cavo elettrico di alimentazione.
- Spingere il pulsante di apertura con un cacciavite piccolo e piatto per aprire il foro del pin desiderato.
- Inserire ogni filo del cavo di alimentazione nel suo corrispondente foro. Rilasciare il pulsante di apertura per assicurare il cavo in posizione.
- Dopo aver inserito tutti i due fili del cavo elettrico, inserire il connettore di alimentazione CC nel connettore di alimentazione dell'apparato.
- Stringere le viti su entrambi i lati del connettore.NOTA: La coppia necessaria è 0,3 N•m (2,7 lb-in).

