GPH6000-MM01-ES.00

Cómo conectar el cable de alimentación CC

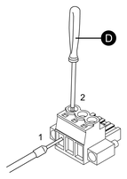
  1. Ranura de inserción del cable

  2. Tornillo de fijación del conector (M2.5)

  3. Tornillo de fijación del cable (M2.5)

  1. Confirme que el cable de alimentación no está conectado a la fuente de alimentación.
  2. Inserte el cable de alimentación en la ranura de inserción del cable.
  3. Apriete el tornillo con un destornillador (Ph1) para fijar el cable. El par de apriete necesario es de 0,4 a 0,5 N•m (3,54 a 4,42 lb-in).

    D. Destornillador

  4. Después de insertar los tres alambres del cable de alimentación, inserte el conector de alimentación de CC en el conector de alimentación del adaptador y asegúrelo con el tornillo de fijación del conector. El par de apriete necesario es de 0,2 a 0,25 N•m (1,77 a 2,21 lb-in).

Resultados de búsqueda (0)

Cerrar