GPH6000-MM01-DE.00

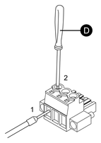
Anschluss des Gleichstromkabels

  1. Schlitz für die Kabeleinführung

  2. Befestigungsschraube des Steckers (M2.5)

  3. Drahtbefestigungsschraube (M2.5)

  1. Stellen Sie sicher, dass das Stromkabel nicht an das Stromnetz angeschlossen ist.
  2. Stecken Sie das Netzkabel durch den Kabelschlitz.
  3. Ziehen Sie die Schraube mit einem Schraubendreher (Ph1) fest, um das Kabel zu sichern. Das erforderliche Anzugsdrehmoment beträgt 0,4 - 0,5 N•m (3,54 - 4,42 lb-in).

    D. Schraubendreher

  4. Nachdem Sie alle drei Drähte des Netzkabels eingesteckt haben, stecken Sie den Gleichstromstecker in den Netzanschluss des Adapters und befestigen Sie ihn mit der Befestigungsschraube des Steckers. Das erforderliche Anzugsdrehmoment beträgt 0,2 - 0,25 N•m (1,77 - 2,21 lb-in).

Suchergebnisse (0)

Schließen