GPH6000-MM01-KO.00

DC 전원 코드 연결 방법

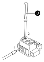
  1. 코드 삽입 슬롯

  2. 커넥터 고정 나사(M2.5)

  3. 와이어 고정 나사(M2.5)

  1. 전원 코드가 전원 공급 장치에 연결되지 않았는지 확인합니다.
  2. 전원 코드를 코드 삽입 슬롯에 삽입합니다.
  3. 나사를 드라이버(Ph1)로 조여 코드를 고정합니다. 필요한 토크는 0.4~0.5 N•m (3.54~4.42 lb-in)입니다.

    D. 드라이버

  4. 전원 코드 전선 세 개를 모두 삽입한 후 DC 전원 커넥터를 어댑터의 전원 커넥터에 삽입하고 커넥터 고정 나사로 고정합니다. 필요한 토크는 0.2~0.25 N•m (1.77~2.21 lb-in)입니다.

검색 결과 (0)

닫기