GPH6000-MM01-JA.00

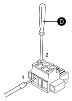
DC 電源ケーブル接続方法

  1. ケーブル挿入スロット

  2. コネクター勘合ネジ (M2.5)

  3. ワイヤー固定ネジ (M2.5)

  1. 通電されていないことを確認します。
  2. ケーブル挿入スロットに電源ケーブルを差し込みます。
  3. ドライバー (Ph1) でネジを締めてケーブルを固定します。必要な締め付けトルクは 0.4 ~ 0.5 N•m (3.54 ~ 4.42 lb-in) です。

    D. ドライバー

  4. 3 つの電線を挿入した後、DC 電源コネクターをアダプターの電源コネクターに挿入し、コネクター勘合ネジで固定します。必要な締め付けトルクは 0.2 ~ 0.25 N•m (1.77 ~ 2.21 lb-in) です。

検索結果 (0)

閉じる