GPH6000-MM01-CS.00

如何连接 DC 电源线

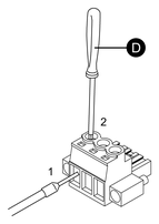
  1. 电线插槽

  2. 连接器固定螺钉 (M2.5)

  3. 导线固定螺钉 (M2.5)

  1. 请确认电源线没有连接到电源上。
  2. 将电源线插入电源线插槽。
  3. 用螺丝刀 (Ph1) 拧紧螺钉,以固定电线。所需力矩为 0.4 至 0.5 N•m (3.54 至 4.42 lb-in)。

    D. 螺丝刀

  4. 插入所有三根电源线后,将直流电源连接器插入适配器的电源连接器,并用连接器固定螺钉固定。所需力矩为 0.2 至 0.25 N•m (1.77 至 2.21 lb-in)。

搜索结果 (0)

关闭