GPH6000-MM01-FR.00

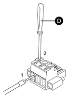
Raccordement du cordon d'alimentation CC

  1. Fente d'insertion du cordon

  2. Vis de fixation du connecteur (M2.5)

  3. Vis de fixation du fil (M2.5)

  1. Assurez-vous que le cordon d'alimentation n'est pas branché sur l'alimentation.
  2. Insérez le cordon d'alimentation dans la fente d'insertion du cordon.
  3. Serrez la vis à l'aide d'un tournevis (Ph1) pour fixer le cordon. Le couple nécessaire est de 0,4 à 0,5 N•m (3,54 à 4,42 lb-in).

    D. Tournevis

  4. Après avoir inséré les trois fils du cordon d'alimentation, insérez le connecteur d'alimentation CC dans le connecteur d'alimentation de l'adaptateur et fixez-le à l'aide de la vis de fixation du connecteur. Le couple nécessaire est de 0,2 à 0,25 N•m (1,77 à 2,21 lb-in).

Résultats de recherche (0)

Fermer