GPH6000-MM01-IT.00

Collegamento del cavo di alimentazione CC

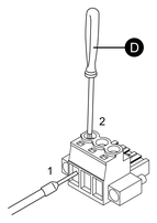
  1. Fessura per l'inserimento del cavo

  2. Vite di fissaggio del connettore (M2.5)

  3. Vite di fissaggio del filo (M2.5)

  1. Verificare che il cavo di alimentazione non sia collegato all'alimentatore.
  2. Inserire il cavo di alimentazione nell'apposita fessura.
  3. Serrare la vite con un cacciavite (Ph1) per fissare il cavo. La coppia di serraggio necessaria per il dado va da 0,4 a 0,5 N•m (da 3,54 a 4,42 lb-in).

    D. Cacciavite

  4. Dopo aver inserito tutti e tre i fili del cavo di alimentazione, inserire il connettore di alimentazione CC nel connettore di alimentazione dell'adattatore e fissarlo con la vite di fissaggio del connettore. La coppia di serraggio necessaria per il dado va da 0,2 a 0,25 N•m (da 1,77 a 2,21 lb-in).

Risultati ricerca (0)

Chiudere