GPH6000-MM01-ES.00

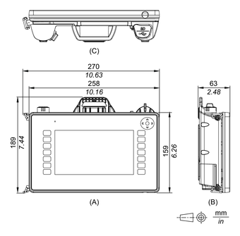
PFXGPH64●0WAD Dimensiones exteriores

  1. Frontal

  2. Izquierda

  3. Parte inferior

Resultados de búsqueda (0)

Cerrar