GPH6000-MM01-KO.00

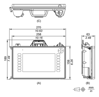
PFXGPH64●0WAD 외부 치수

  1. 전면

  2. 왼쪽

  3. 하단

검색 결과 (0)

닫기