GPH6000-MM01-EN.00

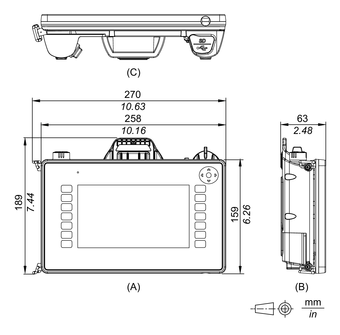
PFXGPH64●0WAD External Dimensions

  1. Front

  2. Left

  3. Bottom

Search Results (0)

Close