GPH6000-MM01-IT.00

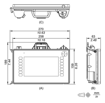
PFXGPH64●0WAD Dimensioni esterne

  1. Lato anteriore

  2. Lato sinistro

  3. Lato inferiore

Risultati ricerca (0)

Chiudere