GPH6000-MM01-CS.00

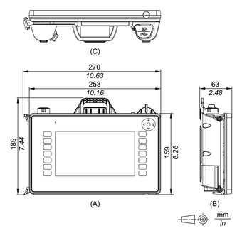
PFXGPH64●0WAD 外部尺寸

  1. 正视图

  2. 左视图

  3. 底视图

搜索结果 (0)

关闭