GPH6000-MM01-JA.00

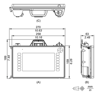
PFXGPH64●0WAD 外形寸法

  1. 正面図

  2. 左側面図

  3. 底面図

検索結果 (0)

閉じる