GPH6000-MM01-DE.00

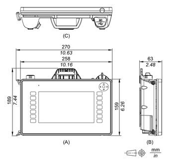
PFXGPH64●0WAD Äußere Abmessungen

  1. Frontseite

  2. Links

  3. Unterseite

Suchergebnisse (0)

Schließen