Procedimiento para quitar el módulo posterior del riel DIN y el panel
Esta sección describe cómo quitar el módulo posterior de un riel DIN y el módulo de visualización del panel.
PELIGRO |
|---|
|
PELIGRO DE DESCARGA ELÉCTRICA, EXPLOSIÓN O ARCO ELÉCTRICO
Si no se siguen estas instrucciones, se producirán lesiones graves o la muerte.
|
| AVISO |
|---|
|
DAÑOS MATERIALES
Asegúrese de quitar el cable de separación
del módulo de visualización sin torcerlo.
Si no se siguen estas instrucciones, pueden producirse daños en el equipo.
|
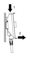
- Mantenga presionado el botón en la parte superior del módulo posterior y retire el módulo posterior.
- Presione el adaptador de instalación del módulo posterior y desenganche la parte inferior del adaptador del riel DIN.
- Mantenga presionado el botón en la parte superior del cable de separación y tire el cable hacia fuera.
- Quite la tuerca y el módulo de visualización del panel.
PELIGRO


