Removal Procedure from DIN Rail and Panel
This section describes how to remove the rear module from a DIN rail and the display module from the panel.
DANGER
|
|---|
|
HAZARD OF ELECTRIC SHOCK, EXPLOSION,
OR ARC FLASH
Failure to follow these instructions will result in death or serious injury.
|
| NOTICE |
|---|
|
EQUIPMENT DAMAGE
Be sure to remove the separation
cable from the display module without twisting.
Failure to follow these instructions can result in equipment damage.
|
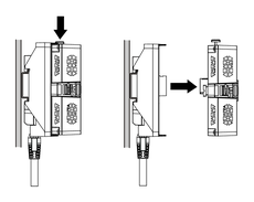
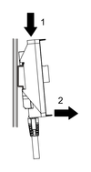
- Push and hold the button at the top of the rear module, and pull the rear module straight out.
- Push down on the rear module installation adapter and unhook the bottom part of the adapter from the DIN rail.
- Push and hold the button at the top of the separation cable, and pull the separation cable straight out.
- Remove the nut and the display module from the panel.
DANGER



