DIN 레일과 패널에서 제거하는 절차
이 섹션에서는 후면 모듈을 DIN 레일에서, 디스플레이 모듈을 패널에서 제거하는 방법을 기술합니다.
위험 |
|---|
|
감전, 폭발 또는
아크 플래시 위험성
이러한 지침을 따르지 않을 경우 심각한 부상 또는 사망으로 이어질 수 있습니다.
|
| 주의 사항 |
|---|
|
장비 손상
반드시 분리 케이블을
돌리지 말고 디스플레이
모듈에서 제거하십시오.
이러한 지침을 따르지 않을 경우 장비 손상이 초래될 수 있습니다.
|
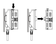
- 후면 모듈 위에 있는 단추를 누른 채 후면 모듈을 똑바로 잡아당깁니다.
- 후면 모듈 설치 어댑터를 눌러 어댑터 하단 부분을 DIN 레일에서 떼어냅니다.
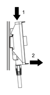
- 분리 케이블 위에 있는 단추를 누른 채 분리 케이블을 똑바로 잡아당깁니다.
- 너트와 디스플레이 모듈을 패널에서 제거합니다.
위험


