Procedura di rimozione da guida DIN e da pannello
La presente sezione illustra come si rimuove il modulo posteriore da una guida DIN e il Display Module dal pannello.
PERICOLO |
|---|
|
RISCHIO DI SCARICA ELETTRICA, ESPLOSIONE O ARCO ELETTRICO
Il mancato rispetto di queste istruzioni provocherà morte o gravi infortuni.
|
| AVVISO |
|---|
|
DANNI ALLE APPARECCHIATURE
Attenzione
a rimuovere il cavo di separazione dal Display Module senza ruotare.
Il mancato rispetto di queste istruzioni può provocare danni alle apparecchiature.
|
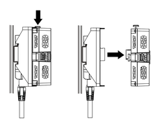
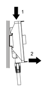
- Premere e tenere premuto il pulsante in cima al modulo posteriore ed estrarre per dritto il modulo posteriore.
- Spingere in basso l'adattatore di installazione del modulo posteriore e sganciare la parte inferiore dell'adattatore dalla guida DIN.
- Tenere premuto il pulsante sulla sommità del cavo di separazione ed estrarre per dritto il cavo di separazione.
- Rimuovere il dado e il Display Module dal pannello.
PERICOLO


