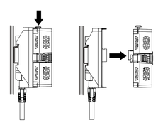
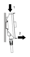
DIN レールおよびパネルからの取り外し手順
ここではリアモジュールを DIN レールから、ディスプレイモジュールをパネルから取り外す方法について説明します。
危険 |
|---|
|
感電、爆発、閃光アークの危険性
上記の指示に従わないと、死亡または重傷を負うことになります。
|
| 注記 |
|---|
|
機器の損傷
分離ケーブルはディスプレイモジュールから捻じらずに取り外してください。
上記の指示に従わないと、機器の損傷を負う可能性があります。
|
- リアモジュールの上部のボタンを押したままリアモジュールを真っ直ぐに引き外します。
- リアモジュール取り付けアダプターを押し下げ、アダプターの下部を DIN レールから外します。
- 分離ケーブルの上部のボタンを押したまま分離ケーブルを真っ直ぐに引き外します。
- パネルからナットとディスプレイモジュールを取り外します。
危険


