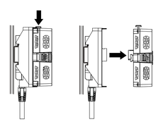
DIN 导轨和面板上的拆卸步骤
本节介绍如何从DIN导轨上卸下背部模块和从面板上卸下显示模块。
危险 |
|---|
|
电击、爆炸或电弧危险
未按说明操作将导致人身伤亡等严重后果。
|
| 注意 |
|---|
|
设备损坏
确保从显示模块上卸下分离电缆,不要扭转。
不遵循上述说明可能导致设备损坏。
|
- 按住主机模块顶部的按钮,然后将主机模块径直拉出。
- 向下推主机模块安装适配器,然后将适配器底部从DIN导轨上取下。
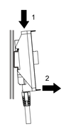
- 按住分离电缆顶部的按钮,然后将分离电缆径直拉出。
- 从面板上卸下螺母和显示模块。
危险


