Procedimiento de instalación
Esta sección describe cómo conectar el módulo posterior y el módulo de visualización al panel.
PELIGRO |
|---|
|
PELIGRO DE DESCARGA ELÉCTRICA, EXPLOSIÓN O ARCO ELÉCTRICO
Si no se siguen estas instrucciones, se producirán lesiones graves o la muerte.
|
| AVISO |
|---|
|
DAÑOS MATERIALES
Siempre debe usar la junta de instalación.
Si no se siguen estas instrucciones, pueden producirse daños en el equipo.
|
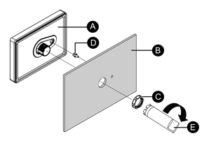
- Coloque el módulo de visualización en una superficie limpia y nivelada con la pantalla orientada hacia abajo.
- Compruebe que la junta esté colocada firmemente en
la ranura del bisel que recorre el perímetro del marco del panel.NOTA: Siempre debe usar la junta de instalación porque absorbe las vibraciones y repela el agua. Véase Sustitución de la junta de instalación para obtener información sobre el procedimiento para sustituir la junta de instalación.
- De acuerdo con las Dimensiones del corte del panel de este producto, corte una abertura de montaje en el panel.
- Introduzca el módulo de visualización y el dispositivo
antirotación en T en el orificio del panel por la parte frontal.
Utilice la llave de vaso para ajustar la tuerca. El par de apriete
necesario para la tuerca es de 1,2 a 2,0 N•m (10,62 a 17,70 lb-in).NOTA:
-
El dispositivo antirotación en T se utiliza para montar el módulo de visualización horizontalmente en el panel. Cuando no utiliza una «T» antirotación, si aplica una fuerza de 2,5 N•m (22,12 lb-in) o más al módulo de visualización, puede hacer que el producto gire. Cuando no utiliza una «T» antirotación, si aplica una fuerza de 6 N•m (53,10 lb-in) o más al módulo de visualización, puede hacer que el producto gire.
-
Si el espesor del panel no cumple las condiciones especificadas, use el espaciador (se vende por separado).
-
- Si el espesor del panel es de 3,8 mm (0,15 in) o menos, presione el tope en el módulo posterior hacia dentro hasta oír un «clic». Si el espesor del panel es superior a 3,8 mm (0,15 in), no cambie la posición del tope.
- Inserte y empuje el módulo posterior hacia el módulo de visualización hasta que encajen en su lugar.
PELIGRO


