Procédure d'installation
Cette section décrit comment installer le module arrière et le Display Module sur le panneau.
DANGER |
|---|
|
RISQUE DE CHOC ELECTRIQUE, D'EXPLOSION
OU D'ARC ELECTRIQUE
Le non-respect de ces instructions provoquera la mort ou des blessures graves.
|
| AVIS |
|---|
|
RISQUE DE DETERIORATION DU MATERIEL
Utilisez
toujours le joint d'installation.
Le non-respect de ces instructions peut provoquer des dommages matériels.
|
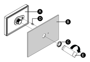
- Placez le Display Module sur une surface de niveau plane, l'écran d'affichage étant orienté vers le bas.
- Assurez-vous que le joint est correctement enfoncé
dans la rainure qui longe le périmètre du châssis du
cadre de l'écran.NOTE: Utilisez toujours le joint d'installation puisque celui-ci absorbe les vibrations en plus de repousser les liquides. Pour la procédure pour remplacer le joint d'installation, reportez vous à la section Remplacement du joint d'installation.
- Selon le Dimensions de découpe du panneau de ce produit, faites un trou de montage dans le panneau.
- Insérez le Display Module et le té anti-rotation
dans le trou à partir du côté avant. Utilisez la clé
à douille pour serrer l'écrou. Le couple nécessaire
pour l'écrou est de 1,2 à 2,0 N•m (10,62 à 17,70 lb-in).NOTE:
-
La té anti-rotation est utilisée pour installer le Display Module à l'horizontale sur le panneau. Lorsque vous n'utilisez pas la té anti-rotation, l'application d'une force supérieure à 2,5 N•m (22,12 lb-in) pourrait faire tourner le produit. En utilisant un té anti-rotation, l'application d'une force supérieure à 6 N•m (53,10 lb-in) pourrait faire tourner le produit.
-
Si l'épaisseur du panneau ne respecte pas les conditions spécifiées, utilisez l'entretoise (vendue séparément).
-
- Si l'épaisseur du panneau est de 3,8 mm (0,15 in) ou moins, poussez le butoir sur le module arrière jusqu'à ce que vous entendiez un clic. Si l'épaisseur du panneau dépasse 3,8 mm (0,15 in), ne changez pas la position de la butée.
- Insérez et poussez le module arrière jusqu'à ce qu'il se verrouille en place.
DANGER


