Installation Procedure
This section describes how to install the rear module and display module to the panel.
DANGER |
|---|
|
HAZARD OF ELECTRIC SHOCK, EXPLOSION, OR ARC FLASH
Failure to follow these instructions will result in death or serious injury.
|
| NOTICE |
|---|
|
EQUIPMENT DAMAGE
Always use the installation gasket.
Failure to follow these instructions can result in equipment damage.
|
- Place the display module on a clean and level surface with the screen facing down.
- Check that the gasket is seated securely into the bezel
groove, which runs around the perimeter of the display panel frame.NOTE: Always use the installation gasket, since it absorbs vibration in addition to repelling water. For the procedure on replacing the installation gasket, refer to Replacing the Installation Gasket.
- Based on this product's Panel Cutout Dimensions, open a mount-hole on the panel.
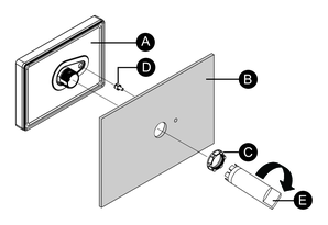
- Insert the display module and the anti-rotation tee into
the panel hole from the front side. Use the socket wrench to tighten
the nut. The necessary torque for the nut is 1.2 to 2.0 N•m (10.62 to 17.70 lb-in).NOTE:
-
The anti-rotation tee is used to install the display module horizontally on the panel. When you do not use an anti-rotation tee, applying 2.5 N•m (22.12 lb-in) or more force to the display module could cause the product to rotate. By using an anti-rotation tee, 6 N•m (53.10 lb-in) or more force could cause the product to rotate.
-
If the panel thickness does not meet the specified conditions, use the spacer (sold separately).
-
- If the panel thickness is 3.8 mm (0.15 in) or less, push in the bumper on the rear module until you hear a click. If the panel thickness is more than 3.8 mm (0.15 in), do not change the bumper position.
- Insert and push the rear module straight in to the display module, until they lock into place.
DANGER


