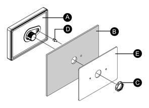
패널 컷아웃 치수
패널 컷아웃 치수에 따라 패널에 장착용 구멍을 엽니다.

| A | B | C |
|---|---|---|
| 22.5 mm (+0/-0.3 mm) (0.88 in [+0/-0.01 in]) |
4.0 mm (+0/-0.2 mm) (0.15 in [+0/-0.007 in]) |
30.0 mm (+0/-0.2 mm) (1.18 in [+0/-0.007 in]) |
패널 두께 권장 범위
| 패널 재료 | 두께 범위(D) |
|---|---|
| 강판 | 1.5...6.0 mm (0.06...0.23 in) |
| 유리 섬유 강화 플라스틱(최저 GF30) | 3.0...6.0 mm (0.12...0.23 in) |
스페이서에 관하여
패널 두께가 제품 사용 조건에 맞지 않으면 선택 사양 스페이서를 사용할 수 있습니다.
| 제품 번호 | PFXZCM6MP2 | PFXZCM6MP4 |
|---|---|---|
| 스페이서 크기(W x H x D) | 145 x 105 x 2 mm (5.71 x 4.13 x 0.08 in) | 204 x 140 x 2 mm (8.03 x 5.51 x 0.08 in) |
| 스페이서 재료 | 스테인리스강 | 스테인리스강 |
스페이서를 사용할 수 있는 패널의 두께와 재료는 다음과 같습니다.
| 패널 재료 | STM-6200WA | STM-6400WA |
|---|---|---|
| 강판 | 1...1.5 mm (0.04...0.06 in) | 1...1.5 mm (0.04...0.06 in) |
| 유리 섬유 강화 플라스틱 (최저 GF30) |
1...3 mm (0.04...0.12 in) | 2...3 mm (0.08...0.12 in) |
| 기타 플라스틱 | 1...3mm (0.04...0.12 in) | 가능하지 않음 |
