面板开孔尺寸
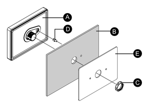
根据面板开孔尺寸,在面板上开出一个安装孔。

| A | B | C |
|---|---|---|
| 22.5 mm (+0/-0.3 mm) (0.88 in [+0/-0.01 in]) |
4.0 mm (+0/-0.2 mm) (0.15 in [+0/-0.007 in]) |
30.0 mm (+0/-0.2 mm) (1.18 in [+0/-0.007 in]) |
面板厚度建议范围:
| 面板材料 | 厚度范围 (D) |
|---|---|
| 钢板 | 1.5... 6.0 mm (0.06...0.23 in) |
| 玻璃纤维增强塑料,(最低GF30) | 3.0... 6.0 mm (0.12...0.23 in) |
关于垫片
如果面板厚度不符合配合产品使用的条件,则可以使用可选的垫片。
| 产品编号 | PFXZCM6MP2 | PFXZCM6MP4 |
|---|---|---|
| 垫片尺寸 (W x H x D) | 145 x 105 x 2 mm(5.71 x 4.13 x 0.08 in) | 204 x 140 x 2 mm (8.03 x 5.51 x 0.08 in) |
| 垫片材料 | 不锈钢 | 不锈钢 |
可使用垫片的面板厚度和材料如下。
| 面板材料 | STM-6200WA | STM-6400WA |
|---|---|---|
| 钢板 | 1...1.5 mm (0.04...0.06 in) | 1...1.5 mm (0.04...0.06 in) |
| 玻璃纤维增强塑料 (最低GF30) |
1...3 mm (0.04...0.12 in) | 2...3 mm (0.08...0.12 in) |
| 其它塑料 | 1...3 mm (0.04...0.12 in) | 不可能 |
