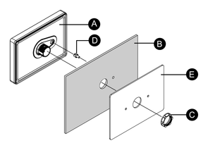
Abmessungen des Montageausschnitts
Erstellen Sie gemäß Ausschnittsabmessungen einen Montageausschnitt in der Platte.

| A | B | C |
|---|---|---|
| 22,5 mm (+0/-0,3 mm) (0,88 in [+0/-0,01 in]) |
4,0 mm (+0/-0,2 mm) (0,15 in [+0/-0,007 in]) |
30,0 mm (+0/-0,2 mm) (1,18 in [+0/-0,007 in]) |
Empfohlener Bereich für die Montageplattenstärke:
| Plattenmaterial | Stärkebereich (D) |
|---|---|
| Stahl | 1,5...6,0 mm (0,06... 0,23 in) |
| GFK-Kunststoff (mindestens GF30) | 3,0...6,0 mm (0,12... 0,23 in) |
Informationen zum Abstandshalter
Wenn die Plattenstärke nicht den Bedingungen für die Verwendung mit dem Produkt entspricht, kann ein optionaler Abstandshalter verwendet werden.
| Produktnummer | PFXZCM6MP2 | PFXZCM6MP4 |
|---|---|---|
| Größe Abstandshalter (B x H x T) | 145 x 105 x 2 mm(5,71 x 4,13 x 0,08 in) | 204 x 140 x 2 mm (8,03 x 5,51 x 0,08 in) |
| Material des Abstandshalters | Edelstahl | Edelstahl |
Folgende Stärken und Materialien gelten für die zu verwendenden Platten:
| Plattenmaterial | STM-6200WA | STM-6400WA |
|---|---|---|
| Stahl | 1...1,5 mm (0,04...0,06 in) | 1...1,5 mm (0,04...0,06 in) |
| GFK-Kunststoff (mindestens GF30) |
1...3 mm (0,04...0,12 in) | 2...3 mm (0,08...0,12 in) |
| anderer Kunststoff | 1...3 mm (0,04...0,12 in) | nicht möglich |
