STM6000-MM01-JA.04

リアモジュール取り付けアダプター外形寸法

リアモジュール取り付けアダプターの寸法

  1. 正面図

  2. 右側面図

  3. 底面図

  4. 背面図

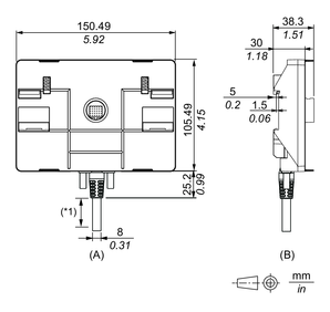
分離ケーブルを取り付けたときの寸法

  1. 正面図

  2. 右側面図

*1 この製品を取り付ける際に、ケーブルの端のゴム部分を折り曲げるためには 20 mm (0.78 in) 以上必要です。

検索結果 (0)

閉じる