STM6000-MM01-CS.04

主机模块安装适配器外部尺寸

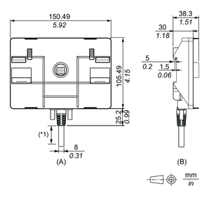
主机模块安装适配器尺寸

  1. 正视图

  2. 右视图

  3. 底视图

  4. 后视图

连接了分离电缆的尺寸

  1. 正视图

  2. 右视图

*1 要组装此产品,需要20 mm (0.78 in)或更大的空间来弯曲电缆末端的橡胶部分。

搜索结果 (0)

关闭