STM6000-MM01-IT.04

Dimensioni esterne adattatore per installazione del modulo posteriore

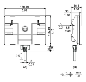
Dimensioni adattatore per installazione del modulo posteriore

  1. Lato anteriore

  2. Lato destro

  3. Lato inferiore

  4. Lato posteriore

Dimensioni con il cavo di separazione attaccato

  1. Lato anteriore

  2. Lato destro

*1 Per montare l'apparato, occorre uno spazio minimo di 20 mm (0,78 in) per piegare la parte in gomma all'estremità del cavo.

Risultati ricerca (0)

Chiudere