DIN レールおよびパネルへの取り付け手順
ここではリアモジュールを DIN レールに、ディスプレイモジュールをパネルに取り付ける方法について説明します。
危険 |
|---|
|
感電、爆発、閃光アークの危険性
上記の指示に従わないと、死亡または重傷を負うことになります。
|
| 注記 |
|---|
|
機器の損傷
防滴ガスケットは必ず使用してください。
上記の指示に従わないと、機器の損傷を負う可能性があります。
|
- 分離ケーブルをリアモジュール取り付けアダプターに接続します。ケーブルコネクターの両側にある 2 本のネジを使用して、ケーブルをアダプターに固定してください。
- リアモジュール取り付けアダプターの上部の溝を DIN レールの上端に配置します。
- 取り付けアダプターを押し下げて、アダプターの下部の溝を DIN レールの下端に入れます。
- リアモジュールをアダプターに真っ直ぐ入れ、所定の位置にロックされるまで押し入れます。
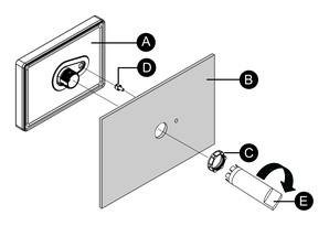
- ディスプレイモジュールの表示面を下にして、清潔で水平なところに置きます。
- 本製品の周囲にあるベゼルの溝に、防滴ガスケットがしっかり装着されていることを確認します。注記: 防滴ガスケットは、防滴効果に加え振動吸収効果を得るために必ず使用してください。防滴ガスケットの交換方法については、防滴ガスケットの交換 を参照してください。
- 本製品のパネルカット寸法 に従って、パネルに取り付け穴を開けます。
- ディスプレイモジュールと回転防止ティーをパネルの前面側から取り付け穴に挿入します。ソケットレンチを使用してナットを締めます。ネジに必要な締め付けトルクは 1.2 ~ 2.0 N•m (10.62 ~ 17.70 lb-in) です。
- 分離ケーブルをディスプレイモジュールに真っ直ぐ入れ、所定の位置にロックされるまで押し入れます。
危険




