Procedura di installazione su guida DIN e su pannello
La presente sezione illustra come installare il modulo posteriore su una guida DIN e il Display Module sul pannello.
PERICOLO |
|---|
|
RISCHIO DI SCARICA ELETTRICA, ESPLOSIONE O ARCO ELETTRICO
Il mancato rispetto di queste istruzioni provocherà morte o gravi infortuni.
|
| AVVISO |
|---|
|
DANNI ALLE APPARECCHIATURE
Usare sempre la guarnizione d'installazione.
Il mancato rispetto di queste istruzioni può provocare danni alle apparecchiature.
|
- Collegare il cavo di separazione all'adattatore di installazione del modulo posteriore. Avvitare le viti su entrambi i lati del cavo connettore per fissare il cavo all'adattatore.
- Posizionare l'incavo superiore dell'adattatore di montaggio del Modulo Posteriore sul bordo superiore del binario DIN.
- Spingere in basso l'adattatore finché l'incavo di fondo dell'adattatore di installazione si inserisce nella guida DIN.
- Inserire e premere per dritto il modulo posteriore nell'adattatore, fino a bloccarlo in sede.
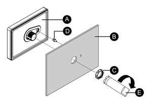
- Appoggiare il Display Module su una superficie pulita e piana con lo schermo rivolto in basso.
- Verificare che la guarnizione sia inserita stabilmente
nella scanalatura apposita, situata attorno al perimetro del telaio
del pannello dello schermo.NOTA: Utilizzare sempre la guarnizione di installazione, perché assorbe le vibrazioni oltre a respingere l'umidità. Per la procedura di sostituzione della guarnizione di installazione, far riferimento a Sostituzione della guarnizione d'installazione.
- In base alle Dimensioni del cutout del pannello del prodotto, praticare un foro di montaggio sul pannello.
- Inserire il modulo display e il dado a T anti-rotazione
nel foro del pannello, dalla parte anteriore. Servirsi della chiave
a bussola per serrare il dado. La coppia di serraggio necessaria per
il dado va da 1,2 a 2,0 N•m (da 10,62 a 17,70 lb-in).NOTA:
-
Il dado a T anti-rotazione si usa per installare orizzontalmente il Display Module sul pannello. Se non si usa il dado a T anti-rotazione, una forza di 2,5 N•m (22,12 lb-in) o superiore applicata sul Display Module potrebbe causare la rotazione del prodotto. Usando il dado a T anti-rotazione, una forza di 6 N•m (53,10 lb-in) o superiore potrebbe causare la rotazione del prodotto.
-
Se lo spessore del pannello non soddisfa le condizioni specificate, usare il distanziatore (venduto separatamente).
-
- Inserire e premere per dritto il cavo di separazione nel Display Module, fino a bloccarlo in sede.
PERICOLO




