STM6000-MM01-DE.04

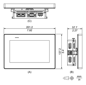
Äußere Abmessungen (STM-6400WA)

Abmessungen Anzeigemodul

  1. Frontseite

  2. Links

  3. Unterseite

Abmessungen bei Anschluss von hinterem Modul an Anzeigemodul

  1. Frontseite

  2. Links

  3. Unterseite

HINWEIS: Die Abmessungen ausschließlich des hinteren Moduls erhalten Sie unter.
Abmessungen hinteres Modul

Suchergebnisse (0)

Schließen