STM6000-MM01-FR.04

Dimensions externes (STM-6400WA)

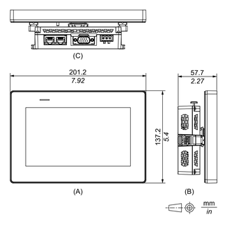
Dimensions Display Module

  1. Avant

  2. Gauche

  3. Bas

Dimensions lorsque le module arrière est fixé sur le Display Module

  1. Avant

  2. Gauche

  3. Bas

NOTE: Consultez ce qui suit pour les dimensions du module arrière seulement.
Dimensions du module arrière

Résultats de recherche (0)

Fermer