GPH6000-MM01-DE.00

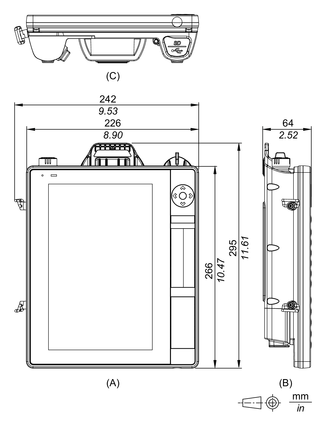
PFXGPH65●0WCD Äußere Abmessungen

  1. Frontseite

  2. Links

  3. Unterseite

Suchergebnisse (0)

Schließen