GPH6000-MM01-FR.00

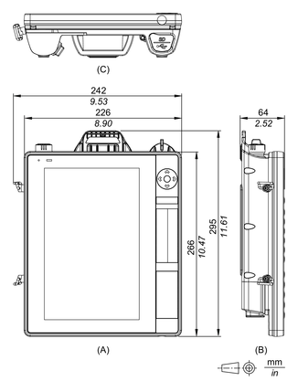
PFXGPH65●0WCD Dimensions extérieures

  1. Avant

  2. Gauche

  3. Bas

Résultats de recherche (0)

Fermer