GP6000-MM01-EN.00

How to Connect the DC Power Cord

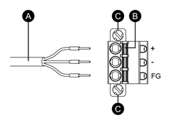
DC Power Connector: Spring Clamp Terminal Blocks

+ 12...24 Vdc
- 0 Vdc
FG Functional ground (Connect the FG terminal properly to ground.)

Connection Procedure

  1. Confirm the power cord is not connected to the power supply.
  2. Check the rated voltage and remove the "DC24V" sticker on the DC power supply connector.
  3. Push the opening button with a small and flat screwdriver to open the desired pin hole.
  4. Insert each power cord wire into its corresponding hole. Release the opening button to clamp the wire in place.
    NOTE:
    • When using stranded wire, do not short with neighboring wires.

    • Do not solder the cable connection.

    1. Power cord

    2. Opening button

    3. Screw

  5. After inserting all three power cord wires, insert the DC power connector into the power connector on this product.
  6. Tighten the screws on both sides of the connector to secure it.
    NOTE: The necessary torque is 0.3 N•m (2.7 lb-in).

Search Results (0)

Close