GPW6000-MM01-IT.00

Montaggio VESA

Collegando la piastra di montaggio VESA opzionale, è possibile montare il prodotto sui bracci per monitor o su adattatori per il montaggio a parete disponibili in commercio che siano conformi allo standard VESA (100 x 100 mm [3,93 x 3,93 in]).

Numero del modello: HMIZHVESA

NOTA:
  • La montatura VESA non è coperta da certificazioni quali UL, RCM, approvazioni in ambiente marino o standard antideflagranti.

  • Prima di installare questo accessorio opzionale, verificare le specifiche quali la resistenza della parete e la capacità di carico del braccio per il monitor previsto.

  • Verificare che le specifiche meccaniche, come la resistenza alle vibrazioni e agli urti, siano adeguate all'ambiente di installazione.

Contenuto della confezione

Verificare che tutte voci qui elencate siano presenti nella confezione.

Se trovate qualcosa di danneggiato o mancante, contattate immediatamente l'assistenza clienti.

  1. Piastra di montaggio VESA x 1

  2. Vite M3 (lunghezza: 39 mm [1,53 in]) x 4

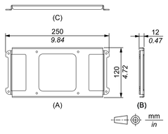
Dimensioni esterne

  1. Lato anteriore

  2. Lato sinistro

  3. Lato inferiore

Risultati ricerca (0)

Chiudere